Ada Shower Bar Height

Image Result For Handicap Shower Dimensions Grab Bars In Bathroom Shower Grab Bar Grab Bars

Image Result For Handicap Shower Dimensions Grab Bars In Bathroom Shower Grab Bar Grab Bars

Shower Valve Height Controls And Accessories For Shower And Bathtub Guidelines Harbor City Supply Ada Shower V Shower Grab Bar Grab Bars In Bathroom Ada Shower

Shower Valve Height Controls And Accessories For Shower And Bathtub Guidelines Harbor City Supply Ada Shower V Shower Grab Bar Grab Bars In Bathroom Ada Shower

Safety Handicap Bathroom Accessories Which Are The Most Important Grab Bars In Bathroom Ada Bathroom Bathroom Dimensions

Safety Handicap Bathroom Accessories Which Are The Most Important Grab Bars In Bathroom Ada Bathroom Bathroom Dimensions

2010 Ada Standards For Accessible Design Ada Bathroom Grab Bars Grab Bars In Bathroom

2010 Ada Standards For Accessible Design Ada Bathroom Grab Bars Grab Bars In Bathroom

Fig 29 A Back Wall A 36 Inch 915 Mm Minimum Length Grab Bar Is Required Grab Bars In Bathroom Ada Bathroom Grab Bars

Fig 29 A Back Wall A 36 Inch 915 Mm Minimum Length Grab Bar Is Required Grab Bars In Bathroom Ada Bathroom Grab Bars

Adaag United States Access Board Ada Bathroom Grab Bars In Bathroom Shower Grab Bar

Adaag United States Access Board Ada Bathroom Grab Bars In Bathroom Shower Grab Bar

Adaag United States Access Board Ada Bathroom Grab Bars In Bathroom Shower Grab Bar

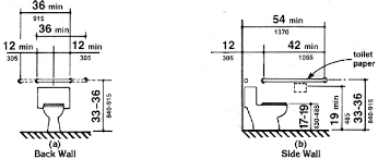
Side wall the side wall grab bar shall be 42 inches 1065 mm long minimum located 12 inches 305 mm maximum from the rear wall and extending 54 inches 1370 mm minimum from the rear wall.

Ada shower bar height. For information about the ada including the revised 2010 ada regulations please visit the department s website www ada gov. Grab bars 1 1 4 o 1 1 2 o mounted at 33 above floor with 1 1 2 wall clearance. Grab bars in a.

It is helpful to use this range as a guide for placement but the most important part is selecting a height that feels comfortable and secure for the person using them. Bathtub shower spray units shall deliver water that is 120 f 49 c maximum. Water closet height min.

Grab bars in addition to the horizontal bars required in accessible toilet or shower stalls. There has to be a space between the bar and the wall of at least 1 inches so that someone can grab onto the bar easily and any projecting objects around the. 19 water closet flush control max.

The bar can be in a recessed area on the shower wall if the recess is at least 3 inches deep and has a space of 18 inches above the top of the rail to allow easy access to the bar. Figure 37 a 36 in by 36 inches 915 mm by 915 mm transfer stall. The shower spray unit shall have an on off control with a non positive shut off.

Or for answers to. Grab bars in toilet stall requirements. Ada requirements for grab bars in a shower stalls.

Circular ada approved grab bars have diameters of 1 2 inches and bars that are not circular have to have a cross section of 2 inches and a radius around the bar of 4 4 8 inches. Towel sanitary napkins and waste receptacles max. Advisory 607 6 shower spray unit and water.

Ansi Vs Ada Restroom Grab Bar Requirements Evstudio Sliding Barn Door Bathroom Privacy Grab Bars In Bathroom Ada Bathroom Grab Bars

Ansi Vs Ada Restroom Grab Bar Requirements Evstudio Sliding Barn Door Bathroom Privacy Grab Bars In Bathroom Ada Bathroom Grab Bars

Bathroom Ada Bathroom Grab Bar Charming And Bathroom Ada Bathroom Grab Bar Ada Bathroom Ada Restroom Commercial Bathroom Designs

Bathroom Ada Bathroom Grab Bar Charming And Bathroom Ada Bathroom Grab Bar Ada Bathroom Ada Restroom Commercial Bathroom Designs

2010 Ada Standards For Accessible Design Grab Bars Ada Bathroom Ada Shower

2010 Ada Standards For Accessible Design Grab Bars Ada Bathroom Ada Shower

Ada Grab Bar Placement In Shower Yahoo Image Search Results Handicap Toilet Handicap Bathroom Toilet Plan

Ada Grab Bar Placement In Shower Yahoo Image Search Results Handicap Toilet Handicap Bathroom Toilet Plan

Location Of Grab Bars Behind Toilet Google Search Handicap Toilet Grab Bars In Bathroom Grab Bars

Location Of Grab Bars Behind Toilet Google Search Handicap Toilet Grab Bars In Bathroom Grab Bars

Ada Bathroom Codes Multiple Stall Google Search Grab Bars In Bathroom Ada Bathroom Grab Bars

Ada Bathroom Codes Multiple Stall Google Search Grab Bars In Bathroom Ada Bathroom Grab Bars

Source : pinterest.com